配资炒股开户:固镇县公安局政府信息公开指南
13.浏览量:点击网页查看的次数。
(二)公开形式。
属于主动公开的政府信息,本机关在政府网站()和当面受理点公开(固镇县公安局办公室(方前路与杨庙路交叉口赵桥西侧350米处),“固镇警方”微博微信;办公时间:周一至周五8:00-12:00,14:30 -17:30(节假日除外);联系电话: -,同时根据信息特点利用政府公报、新闻发布、广播电视、报刊等其它方式公开。
(三)公开时限。
属于主动公开范围的政府信息,自该政府信息形成或者变更之日起20个工作日内及时公开。法律、法规对政府信息公开的期限另有规定的,从其规定。
二、依申请公开
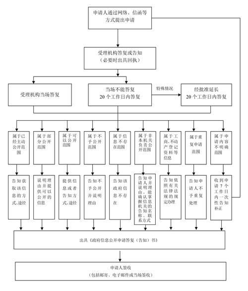
公民、法人或者其他组织(以下简称申请人)可申请固镇县公安局主动公开以外的政府信息。本机关在公开政府信息前,将依照《中华人民共和国保守国家秘密法》以及其他法律、法规和国家有关规定对拟公开的政府信息进行审查。
(一)受理机构。
本机关依申请公开受理机构:固镇县公安局办公室;办公地址:固镇县南城区(方前路与杨庙路交叉口赵桥西侧350米处);办公时间:周一至周五8:00-12:00,14:30 -17:30(节假日除外),传真号码:0552-;联系电话: -;邮政编码:。
(二)申请内容。
申请人提出的政府信息公开申请应当真实载明下列内容:
1.申请人的姓名或者名称、公民、法人或其他组织的身份证明、联系方式、通信地址;
2.申请公开的政府信息的名称、文号或者便于行政机关查询的其他特征性描述;
3.申请公开的政府信息的形式要求,包括获取信息的方式、途径;
4.受理机关名称。
申请人向本机关提交政府信息公开申请,应当同时上传或提供身份证明。
(三)申请方式。

申请人填写《固镇县政府信息公开申请表》(以下简称《申请表》),申请表可以在固镇县政府门户网站政府信息公开专栏下载,申请表复印有效。
申请人可以通过以下方式提出申请:
1.信函。通过信函提出申请,应填写《申请表》(可从固镇县人民政府门户网站"政府信息公开-政府信息公开指南"栏目下载打印),并在信封正面显著位置注明"政府信息公开申请",本机关只接收中国邮政寄件。申请人通过信函方式提出申请的,收信人名称请注明"固镇县公安局办公室",信封左下角注明"政府信息公开申请"字样。通信地址:固镇县南城区(方前路与杨庙路交叉口赵桥西侧350米处),邮政编码:。
2.当面提交。通过当面提交的,请提前电话联系确认。地址:固镇县南城区(方前路与杨庙路交叉口赵桥西侧350米处);办公时间:周一至周五8:00-12:00,14:30 -17:30(节假日除外);联系电话: -。
3.传真。通过传真提出申请,应填写《申请表》并在传真第一页正面明显位置注明"政府信息公开申请"和传真总页数,发送传真后应电话联系进行确认。传真号码:0552-。
4.网页申请。请登录固镇县政府门户网站"政府信息公开专栏"的"依申请公开"栏目提交申请。
(四)申请注意事项。
1.申请人委托代理人提出政府信息公开申请的,应当提供委托代理证明材料;5人以上(含5人)共同申请同一政府信息,可以推选1至5名代表提交申请,并提供推举证明材料。
2.政府信息公开申请内容不明确的,行政机关应当给予指导和释明,并自收到申请之日起7个工作日内一次性告知申请人作出补正,说明需要补正的事项和合理的补正期限。答复期限自行政机关收到补正的申请之日起计算。申请人无正当理由逾期不补正的,视为放弃申请,本机关不再处理该政府信息公开申请。
3.申请人申请公开政府信息的数量、频次明显超过合理范围,本机关将要求申请人说明理由。对申请理由不合理的,将告知申请人不予处理。
4.申请人以政府信息公开申请的形式进行信访、投诉、举报等活动,本机关将告知申请人不作为政府信息公开申请处理并告知通过相应渠道提出。
(五)答复时限。
行政机关收到政府信息公开申请,能够当场答复的,应当当场予以答复。行政机关不能当场答复的,应当自收到申请之日起20个工作日内予以答复;需要延长答复期限的,应当经政府信息公开工作机构负责人同意并告知申请人,延长的期限最长不得超过20个工作日。行政机关征求第三方和其他机关意见所需时间不计算在前款规定的期限内。
(六)收费标准。
行政机关依申请提供政府信息,不收取费用。但是,申请人申请公开政府信息的数量、频次明显超过合理范围的,行政机关可以收取信息处理费,具体按照《国务院办公厅关于印发的通知》(国办函〔2020〕109号)、《安徽省财政厅安徽省发展和改革委员会关于政府信息公开信息处理费》(皖财综〔2021〕28号)有关事项的通知规定执行。
三、不予公开
1.依法确定为国家秘密的政府信息,法律、行政法规禁止公开的政府信息,以及公开后可能危及国家安全、公共安全、经济安全、社会稳定的政府信息,不予公开。

2.涉及商业秘密、个人隐私等公开会对第三方合法权益造成损害的政府信息,本机关不得公开。但是,第三方同意公开或者本机关认为不公开会对公共利益造成重大影响的,予以公开。
3.本机关的内部事务信息,包括人事管理、后勤管理、内部工作流程等方面的信息,可以不予公开。
4.本机关在履行行政管理职能过程中形成的讨论记录、过程稿、磋商信函、请示报告等过程性信息以及行政执法案卷信息,可以不予公开。法律、法规、规章规定上述信息应当公开的,从其规定。
四、政府信息公开工作机构
固镇县公安局办公室负责推进、指导、协调、监督全县公安系统信息公开工作。
工作机构名称:固镇县公安局办公室。
办公地址:固镇县南城区方前路与杨庙路交叉口赵桥西侧350米处。
办公时间:周一至周五8:00-12:00,14:30 -17:30(节假日除外)。
联系电话: -。
传真号码:0552-。
互联网联系方式:。(仅用于接收政府信息公开工作有关意见建议,不受理依申请公开申请。如需提交政府信息公开申请,请查看第二部分“依申请公开”。)
五、监督和救济
公民、法人或者其他组织认为行政机关在政府信息公开工作中侵犯其合法权益的,可以向上一级行政机关或者政府信息公开工作主管部门投诉、举报,也可以依法申请行政复议或者提起行政诉讼。
附件:依申请公开政府信息申请表
依申请公开政府信息申请表
备注:公民、法人或其他组织申请时,必须提交有效身份证明(如身份证复印件、统一社会信用代码证复印件等),否则不予受理。
本网站所提供的所有内容仅供参考,不构成任何投资建议或操作依据。股票配资具有较高的风险,投资者在使用杠杆交易时应充分了解相关风险,谨慎决策。本站对因信息使用而导致的任何直接或间接损失不承担任何责任。市场有风险,投资需谨慎。本文链接:http://juzuxun.com/html/peizichaogukaihu/727.html


